ちょうボルト・蝶ボルト

特徴
ちょうボルト(蝶ボルト)とは頭部が蝶形のボルトで、工具を使わずに手で締めたり緩めたりすることができます。頭部の形状によって、1~3種類に分類されます。ねじは並目ねじです。 樹脂のつまみネジよりも強度が高いので、ご使用される環境や状況により、蝶ボルトを選ぶほうが良い場合もあります。例えば、2本のパイプの調節する場合や、稼動部、躯体部分など、見た目よりもまず強度といった箇所に使用されます。 ウイングボルト(Wing bolt)とも呼ばれております。
ちょうボルトは様々なタイプがあります。
冷間蝶ボルト1種・・・頭部の羽(つまみ部)が丸い形状をしている。(M6の場合頭部:32)
プレス蝶ボルト・・・頭部の羽(つまみ部)がプレス加工で製作されています。(M6の場合頭部:25)
冷間蝶ボルト(R)・・・頭部の羽(つまみ部)が角ばっており、小型である。(M6の場合頭部:27)
冷間蝶ボルト(H)・・・頭部の羽(つまみ部)が角ばっており、大型である。(M6の場合頭部:31)
ちょうボルトの種類-JIS B 1184-
| 種類 | 頭部の形状 | 製造方法 | ||
|---|---|---|---|---|
| 1種 | ![]() |
翼端は半円形とする | 任意とする | |
| 2種 | ![]() |
翼端は角形とする | Rタイプ(小型) | |
| Rタイプ(小型) | ||||
| 3種 | ![]() |
- | 板のプレス加工による | |
ちょうボルトの代表的なサイズ
●ちょうボルト2種の代表的なサイズ
<単位 mm>
| ねじの呼び | M3 | M4 | M5 | M6 | M8 | M10 | M12 |
|---|---|---|---|---|---|---|---|
| 翼の幅 | 17 | 17 | 21 | 27 | 31 | 36 | 48 |
| 翼の高さ | 9 | 9 | 11 | 13 | 16 | 18 | 23 |
| 呼び長さ | 5~40 | 6~40 | 8~50 | 8~60 | 12~80 | 14~100 | 20~140 |
※ECサイトでも取り扱いが御座います。サイズ表をクリックして下さい。
ちょうボルトの規格表
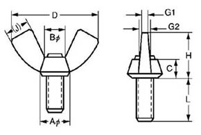
ちょうボルト(1種)- 冷間蝶ボルト
<単位 mm>
| ねじ径 | A | B | C | D | H | G1 | G2 |
|---|---|---|---|---|---|---|---|
| M6 | 12 | 10 | 8 | 32 | 16 | 2.7 | 3 |
| M8 | 15 | 12 | 11 | 40 | 20 | 3.5 | 5.7 |
| M10 | 19 | 15.5 | 12.5 | 50 | 25 | 4 | 6 |
※ECサイトでも取り扱いが御座います。サイズ表をクリックして下さい。
ちょうボルト(2種) -冷間蝶ボルト H=大形
<単位 mm>
| ねじ径 | A | B | C | D | H | G1 | G2 | J(参考) |
|---|---|---|---|---|---|---|---|---|
| M5 | 11 | 8.5 | 7 | 27 | 13 | 3 | 4 | 8 |
| M6 | 12 | 11 | 7.5 | 31 | 16 | 3.5 | 5 | 9 |
| M8 | 15 | 12.5 | 9 | 36 | 18 | 4 | 6 | 10 |
※ECサイトでも取り扱いが御座います。サイズ表をクリックして下さい。
ちょうボルト(2種) -冷間蝶ボルト R=小形
<単位 mm>
| ねじ径 | A | B | C | D | H | G1 | G2 | J(参考) |
|---|---|---|---|---|---|---|---|---|
| M3 | 7.5 | 5 | 3.5 | 17 | 9 | 2 | 2.5 | 5 |
| M4 | 9 | 6.7 | 5.5 | 21 | 11 | 3 | 4 | 6 |
| M5 | 9 | 6.7 | 5.5 | 21 | 11 | 3 | 4 | 6 |
| M6 | 12 | 8.5 | 7 | 27 | 13 | 3 | 4 | 8 |
| M8 | 15 | 11 | 7.5 | 31 | 16 | 3.5 | 5 | 9 |
| M10 | 16 | 12.5 | 9 | 36 | 18 | 4 | 6 | 10 |
※ECサイトでも取り扱いが御座います。サイズ表をクリックして下さい。
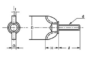
ちょうボルト(3種) -プレス蝶ボルト
<単位 mm>
| ねじ径 | D | H | C | A | T | G | t | |||||||
|---|---|---|---|---|---|---|---|---|---|---|---|---|---|---|
| M4 | 20.0 | ±1.0 | 9.0 | ±1.0 | 4.9 | ±1.0 | 7.2 | ±5.0 | 1.0 | ±1.0 | 4.0 | ±0.3 | 0.8 | |
| M5 | 22.0 | ±1.0 | 9.6 | ±1.0 | 5.4 | ±1.0 | 10.0 | ±5.0 | 1.2 | ±1.0 | 4.0 | ±0.3 | 0.8 | |
| M6 | 25.0 | ±1.0 | 12.0 | ±1.0 | 6.5 | ±1.0 | 12.0 | ±5.0 | 1.3 | ±1.0 | 5.0 | ±0.5 | 1.0 | |
| M8 | 32.0 | ±1.0 | 15.3 | ±1.0 | 7.9 | ±1.0 | 15.0 | ±5.0 | 1.5 | ±1.0 | 6.0 | ±0.5 | 1.2 | |
| M10 | 41.0 | ±1.0 | 19.3 | ±1.0 | 9.8 | ±1.0 | 18.0 | ±7.0 | 2.0 | ±1.0 | 7.0 | ±0.5 | 1.6 | |
| M12 | 47.0 | ±1.0 | 23.0 | ±1.0 | 11.5 | ±1.0 | 20.0 | ±7.0 | 2.3 | ±1.0 | 8.0 | ±0.5 | 1.6 | |
※ECサイトでも取り扱いが御座います。サイズ表をクリックして下さい。
















