六角ボルト

関連リンク
特徴
一般的に、ナットと一緒に使われるねじのことをボルトと呼んでいます。その中でも代表的な六角ボルトは、正六角形の頭を持ち、レンチやスパナなどを使って締め付けます。すりわりや十字穴のねじより、強く締め付けることができます。
種類
六角ボルトには、ねじを加工していない円筒部とねじの呼び径がほぼ等しい「呼び径六角ボルト」、円筒部と有効径がほぼ等しい「有効径六角ボルト」、軸部のほぼすべてがねじになっている「全ねじ六角ボルト」があります。
用途事例
■いろいろな六角ボルト
小ねじよりも大きなサイズがある六角ボルトは、建築用にもよく使われています。
工具も多種多様にあり現場の都合で変えれることも利点です。
写真のように、ボルトやナットの上から塗装されていることも多いです。
大きなビルや橋などの建築物がしっかり建っていられるのも、1本1本のボルトがしっかり支えているからこそ。
まさに縁の下の力持ちのような存在です。
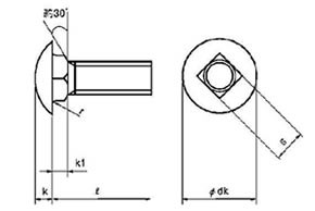
■角根丸頭ボルト
-JIS B 1171-
丸頭の裏側に四角い部分を持つボルトです。
あらかじめ相手の材料に四角穴を開けていたり、材料の角に引っかけることで回り止めの役割をします。
頭部が丸く、十字穴などもないため、いたずら防止などの目的でも使われます。
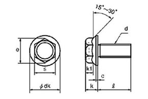
■フランジ付き六角ボルト
-JIS B 1189-
頭にフランジ(円錐形のつば)をつけた六角ボルトです。
座面の面積を大きくすることで、緩み止めの効果や、締結する材料に座面が陥没することを防ぐ効果があります。
六角ボルトの種類-JIS B 1180-
| 種類 | 材料 | 仕上げ程度 | 強度区分 |
|---|---|---|---|
| 六角ボルト | 鋼(ねじの呼び径が39mm以下のもの) | 上、中、下 | 4.6、4,8、5.6、5.8、6.8、8.8、10.9 |
| 鋼(ねじの呼び径が42mm以上のもの)、ステンレス、非鉄金属 | - | ||
| 小形六角ボルト | 鋼 | 上、中 | 4.6、4,8、5.6、5.8、6.8、8.8、10.9 |
| ステンレス、非鉄金属 | - |
六角ボルトの代表的なサイズ
<単位 mm>
| ねじの呼び | M3 | M4 | M5 | M6 | M8 | M10 | M12 |
|---|---|---|---|---|---|---|---|
| 二面幅 | 5.5 | 7 | 8 | 10 | 13 | 17 | 19 |
| 対角距離 | 6.4 | 8.1 | 9.2 | 11.5 | 15 | 19.6 | 21.9 |
| 頭部の高さ | 2 | 2.8 | 3.5 | 4 | 5.5 | 7 | 8 |
| 呼び長さ | 5~30 | 6~40 | 8~50 | 8~70 | 12~100 | 14~100 | 16~140 |
※ECサイトでも取り扱いが御座います。サイズ表をクリックして下さい。
六角ボルトの規格表
六角ボルト
| ねじの呼び(d) | ピッチ (p) |
k | s | e | ||
|---|---|---|---|---|---|---|
| 基準寸法 | 許容差 | 基準寸法 | 許容差 | 約 | ||
| M3 | 0.5 | 2 | ±0.1 | 5.5 | 0 -0.2 |
6.4 |
| M4 | 0.7 | 2.8 | 7 | 8.1 | ||
| M5 | 0.8 | 3.5 | ±0.15 | 8 | 9.2 | |
| M6 | 1.0 | 4 | 10 | 11.5 | ||
| M8 | 1.25 | 5.5 | 13 | 0 -0.25 |
15 | |
| M10 | 1.5 | 7 | ±0.2 | 17 | 19.6 | |
| M12 | 1.75 | 8 | 19 | 0 -0.35 |
21.9 | |
| (M14) | 2.0 | 9 | 22 | 25.4 | ||
| M16 | 2.0 | 10 | 24 | 27.7 | ||
| (M18) | 2.5 | 12 | 27 | 31.2 | ||
| M20 | 2.5 | 13 | 30 | 34.6 | ||
| (M22) | 2.5 | 14 | 32 | 0 -0.4 |
37 | |
| M24 | 3.0 | 15 | 36 | 41.6 | ||
| M27 | 3.0 | 17 | 41 | 47.3 | ||
| M30 | 3.5 | 19 | ±0.25 | 46 | 53.1 | |
| (M33) | 3.5 | 21 | 50 | 57.7 | ||
| M36 | 4.0 | 23 | 55 | 0 -0.45 |
63.5 | |
| M42 | 4.5 | 26 | 65 | 75 | ||
※ECサイトでも取り扱いが御座います。サイズ表をクリックして下さい。
-
六角ボルト(全
-
六角ボルト(全(ウィット
-
六角ボルト(日規
-
六角ボルト(全ねじ(細目
-
六角ボルト(全ねじ(その他細目
-
六角ボルト(半
-
六角ボルト(半(ウィット
-
六角ボルト(半ねじ(細目
-
六角ボルト(UNC
-
六角ボルト(UNF
-
12.9 六角ボルト
-
8.8六角ボルト(全
-
8.8六角ボルト(半
-
10.9 六角ボルト
-
10.9 六角ボルト(ウィット
-
10.9 六角ボルト(細目
-
10.9 六角ボルト(その他細目
-
10.9 六角ボルト(全
-
10.9六角ボルト(全・ウィット
-
10.9 六角ボルト(全ねじ細目
小形六角ボルト
| ねじの呼び(d) | k | s | e | ||
|---|---|---|---|---|---|
| 基準寸法 | 許容差 | 基準寸法 | 許容差 | 約 | |
| M8×1.25 | 6 | ±0.25 | 12 | 0 -0.7 |
13.9 |
※ECサイトでも取り扱いが御座います。サイズ表をクリックして下さい。
角根丸頭ボルト
| ねじの呼び(d) | dk | k | k1 | s | ||
|---|---|---|---|---|---|---|
| M4 | 8.5±0.3 | 2.0±0.2 | 2.5 | +0 -0.5 |
4 | +0.6 -規定せず |
| M5 | 11.5±0.3 | 2.5±0.2 | 2.5 | 5 | ||
| M6 | 14±0.3 | 3.0±0.2 | 3.0 | 6 | ||
| M8 | 18±0.3 | 4.0±0.25 | 4.0 | 8 | ||
| M10 | 22±0.4 | 5.0±0.3 | 5.0 | 10 | +0.8 -規定せず |
|
| M12 | 26±0.4 | 6.0±0.3 | 6.0 | 12 | ||
※ECサイトでも取り扱いが御座います。サイズ表をクリックして下さい。
フランジ付き六角ボルト
| ねじの呼び(d) | s | e | dk | k | k1 | c | |
|---|---|---|---|---|---|---|---|
| 基準寸法 | 許容差 | 最小 | 最大 | 最大 | 最小 | 最小 | |
| M4 | 7 | 0 -0.2 |
7.74 | 10.5 | 4.2 | 2.4 | 0.6 |
| M5 | 8 | 8.87 | 12 | 5 | 3 | 0.7 | |
| M6 | 10 | 11.05 | 14 | 6 | 3.6 | 0.8 | |
| M8 | 12 | 0 -0.25 |
13.25 | 17.5 | 8 | 4.8 | 1.0 |
| M10 | 14 | 15.51 | 21 | 10 | 6 | 1.2 | |
| M12 | 17 | 18.90 | 25 | 11.5 | 7.2 | 1.4 | |
| M16 | 22 | 0 -0.35 |
24.49 | 33 | 15 | 9.6 | 1.8 |
※ECサイトでも取り扱いが御座います。サイズ表をクリックして下さい。















