アプセット小ねじ

特徴
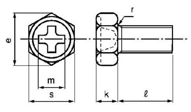
アプセットでは、冷間圧造によって六角や四角に頭を成形したもので、普通は頭部上面にへこみがあります。六角ボルトのようですが、十字穴がついているので小ねじの仲間といえます。
十字穴がないアプセットの六角ボルトもあり、そちらは六角ボルトの仲間になります。
通常の六角ボルトは、トリーマーといって、円形の頭をつくってから六角形の穴が開いたダイスに通して成型しています。
アプセットでは角が丸みを持ち滑らかですが、トリーマーでは鋭角にシャープにできています。
プラスのアプセット小ねじ
一見すると六角ボルトのようですが、頭部がアプセットで十字穴があります。ドライバー、スパナ、レンチなどいろいろな工具を使って締めることができますが、六角ボルトほど強度はありません。
プラスマイナス六角フランジ小ねじ
十字の1本が長くなり、すりわりと十字穴の両方の機能を持った「プラスマイナス小ねじ」です。プラス、マイナスのどちらのドライバーでも使うことができます。
用途
頭がアプセット小ねじになっているフランジ付き六角ボルトこちらは六角ボルトの仲間です。複数の工具が使える、とても便利な小ねじです。頭部が六角形なのに十字穴があり、六角ボルトよりも柔らかい印象があるなど、さまざまな特長を合わせ持っていますので、飾りや装飾用に使ってもおもしろいかもしれません。ただし、形は六角ボルトに似ていますが、六角ボルトほど強度がありませんので注意してください。
アプセット小ねじの代表的なサイズ
<単位 mm>
| ねじの呼び | M3 | M4 | M5 | M6 | M8 |
|---|---|---|---|---|---|
| 二面幅 | 5.5 | 7 | 8 | 10 | 12 |
| 頭部の高さ | 2 | 2.8 | 3.5 | 4 | 5.5 |
| 呼び長さ | 6~12 | 5~40 | 5~40 | 8~70 | 12~70 |
※アプセット小ねじはJIS規格品ではないため、頭部の径や高さなどのサイズは製造メーカーにより異なることがあります
※ECサイトでも取り扱いが御座います。サイズ表をクリックして下さい。
アプセット小ねじの規格表
※ECサイトでも取り扱いが御座います。サイズ表をクリックして下さい。
| ねじの呼び(d) | 十字穴 | s | e | k | m | q | r | |||
|---|---|---|---|---|---|---|---|---|---|---|
| 基準寸法 | 許容差 | 参考 | 基準寸法 | 許容差 | 参考 | 最小 | 最大 | 最小 | ||
| M3 | 2 | 5.5 | 0 -0.2 |
6.05 | 2.0 | ±0.1 | 3.5 | 1.43 | 0.91 | 0.1 |
| M3.5 | 6.0 | 6.6 | 2.4 | 3.5 | 1.43 | 1.91 | ||||
| M4 | 7.0 | 7.7 | 2.8 | 4.0 | 1.93 | 1.40 | 0.2 | |||
| M4.5 | 8.0 | 8.7 | 3.2 | ±0.15 | 4.2 | 2.13 | 1.59 | |||
| M5 | 8.0 | 8.7 | 3.5 | 4.8 | 2.73 | 2.19 | ||||
| M6 | 3 | 10.0 | 10.9 | 4.0 | 6.2 | 2.86 | 2.30 | 0.25 | ||
| M8 | 13.0 | 0 -0.25 |
14.1 | 5.5 | 7.2 | 3.86 | 3.20 | 0.4 | ||
| M8 | 17.0 | 18.9 | 7.0 | ±0.2 | 7.2 | 3.86 | 3.20 | 0.4 | ||









