アイナット

特徴
アイナットは機械器具類のつり上げなど、一般の荷役に使われます。そのため、小さなサイズのものはなく、一番小さなものでもねじの呼びがM8になります。 照明のソケットをいろいろな場所に取り付けられるクリップです。ソケットの固定にちょうナットが使われています。
アイナットの代表的なサイズ
<単位 mm>
| ねじの呼び | M8 | M10 | M12 | M16 | M20 | M24 | M30 |
|---|---|---|---|---|---|---|---|
| リングの外径 | 32.6 | 41 | 50 | 60 | 72 | 90 | 110 |
| リングの内径 | 20 | 25 | 30 | 35 | 40 | 50 | 60 |
| リングの高さ | 39.5 | 48.5 | 51 | 72 | 86 | 111 | 135 |
| 座面の径 | 16 | 20 | 25 | 30 | 35 | 45 | 60 |
| 使用荷重(垂直づり)kN | 0.785 | 1.47 | 2.16 | 4.41 | 6.18 | 9.23 | 14.7 |
※ECサイトでも取り扱いが御座います。サイズ表をクリックして下さい。
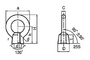
アイナットの規格表
冷間蝶ナット:1種
| ねじの呼び (d) |
a | b | c | D | h | H (参考) |
r (約) |
使用荷重 KN(kgf) | 重量 約g |
|||
|---|---|---|---|---|---|---|---|---|---|---|---|---|
| 垂直づり | 45度づり (2個につき) |
|||||||||||
| M6 | 25 | 14 | 6.3 | 13 | 20 | 32.5 | ||||||
| M8 | 32.6 | 20 | 6.3 | 16 | 23 | 39.5 | 8 | 0.785 | (80) | 0.785 | (80) | 35 |
| M10 | 41 | 25 | 8 | 20 | 28 | 48.5 | 10 | 1.47 | (150) | 1.47 | (150) | 70 |
| M12 | 50 | 30 | 10 | 25 | 36 | 61 | 12 | 2.16 | (220) | 2.16 | (220) | 145 |
| M14 | 60 | 35 | 12.5 | 30 | 42 | 72 | 14 | 4.41 | (450) | 4.41 | (450) | 240 |
| M16 | 60 | 35 | 12.5 | 30 | 42 | 72 | 14 | 4.41 | (450) | 4.41 | (450) | 240 |
| M18 | 72 | 40 | 16 | 35 | 50 | 86 | 16 | 6.18 | (630) | 6.18 | (630) | 400 |
| M20 | 72 | 40 | 16 | 35 | 50 | 86 | 16 | 6.18 | (630) | 6.18 | (630) | 400 |
※ECサイトでも取り扱いが御座います。サイズ表をクリックして下さい。











