六角ナット

六角ナットの仲間
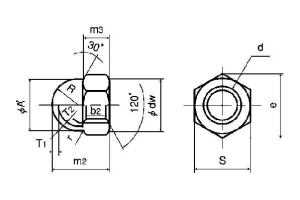
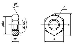
■六角袋ナット
六角ナットの片面がキャップ状態になっており、ねじ穴が貫通していないナットです。ボルトのねじ部が隠れているので、見た目をきれいにしたい場合に使うほか、安全性も高めることができます。
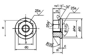
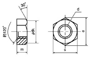
■フランジ付き六角ナット
-JIS B 1190-
直径が六角対角距離よりも大きな円錐形のつば(フランジ)を持つ六角ナット。座面を広くすることで、緩み止めの効果があります。フランジの裏にギザギザのセレートが加工されたものもあります。
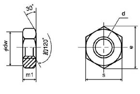
■ナイロンナット
ナットのめねじ部に、ナイロンが組み込まれているナット。大きな摩擦力を生じることで、緩み止めの効果があります。
■四角ナット
-JIS B 1163-
一般的な六角形ではなく、四角形のナット。板ナットとも呼ばれます。取り付ける材料の角や隙間にあわせてナットを固定することで、ナットを押さえなくてもボルトを締めることができます。
特徴
ボルトなとのおねじ部品と組み合わせて使うめねじ部品。一般的には六角形で、内側にめねじが切ってあります。
締め付けるにはスパナやレンチが必要です。ボルトとナットの、どちらを押さえてどちらを回すのか、いろいろな意見がありますが、初心者は自分がわかりやすい方法でよいでしょう。
種類
ボルトと組み合わせて使われるため、単独で用いられることはありません。
フランジ付きや、ナイロンナットなど、緩み止めの様々な工夫がされていますが、ナットを2個使う「ダブルナット」という方法もあります。
先に締めたナットを固定し、後から締めたナットをさらに締める方向へ同時に回すことで、ナット同士の接触面に強力な摩擦力が発生し、緩み止めの効果が得られます。
六角ナットの種類-JIS B 1181-
| 種類 | 材料 | 仕上げ程度 |
|---|---|---|
| 六角ナット | 鋼(ねじの呼び径が39mm以下の1種、2種、及び4種の場合) | 上、中、並 |
| 鋼(ねじの呼び径が39mm以下の3種及び42mm以上の場合) | ||
| ステンレス鋼 | ||
| 非鉄金属 | ||
| 小形六角ナット | 鋼(1種、2種及び4種の場合) | 上、中 |
| 鋼(3種の場合) | ||
| ステンレス鋼 | ||
| 非鉄金属 |
※二面幅(s)とねじの呼び径(d)がs/d<1.45のものを小形六角ナットという
※上面や座面などの表面粗さによっと、上、中、並の仕上げ程度にわかれる
※片側のみ面取りした1種、両面取りの2種、両面取りで薄型の3種、座付きの4種がある。ただし4種はほとんど使われていない
六角ボルトの代表的なサイズ
<単位 mm>
| ねじの呼び | M2 | M3 | M4 | M5 | M6 | M8 | M10 |
|---|---|---|---|---|---|---|---|
| 二面幅 | 4 | 5.5 | 7 | 8 | 10 | 13 | 17 |
| 対角距離 | 4.6 | 6.4 | 8.1 | 9.2 | 11.5 | 15 | 19.6 |
| 頭部の高さ | 1.6 | 2.4 | 3.2 | 4 | 5 | 6.5 | 8 |
| 呼び長さ | 1.2 | 1.8 | 2.4 | 3.2 | 3.6 | 5 | 6 |
※ECサイトでも取り扱いが御座います。サイズ表をクリックして下さい。
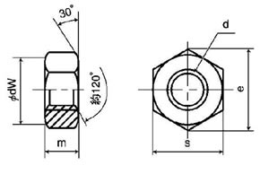
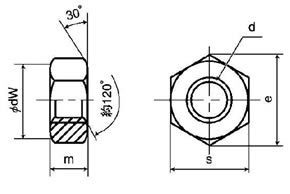
ナットの規格表
1種
| ねじの呼び(d) | ピッチ | m | s | e | dk/dw | ||
|---|---|---|---|---|---|---|---|
| 並目 | 基準寸法 | 許容差 | 基準寸法 | 許容差 | 約 | 約 | |
| M2 | 0.4 | 1.6 | 0 -0.25 |
4 | 0 -0.2 |
4.6 | 3.8 |
| M2.3 | 0.4 | 1.8 | 4.5 | 5.2 | 4.3 | ||
| M2.5 | 0.45 | 2 | 5 | 5.8 | 4.7 | ||
| M2.6 | 0.45 | 2 | 5 | 5.8 | 4.7 | ||
| M3 | 0.5 | 2.4 | 5.5 | 6.4 | 5.3 | ||
| M3.5 | 0.6 | 2.8 | 6 | 6.9 | 5.8 | ||
| M4 | 0.7 | 3.2 | 0 -0.3 |
7 | 8.1 | 6.8 | |
| M5 | 0.8 | 4 | 8 | 9.2 | 7.8 | ||
| M6 | 1.0 | 5 | 0 -0.48 |
10 | 0 -0.6 |
11.5 | 9.8 |
| M8 | 1.25 | 6.5 | 0 -0.58 |
13 | 0 -0.7 |
15 | 12.5 |
| M10 | 1.5 | 8 | 17 | 19.6 | 16.5 | ||
| M12 | 1.75 | 10 | 19 | 0 -0.8 |
21.9 | 18 | |
| M14 | 2.0 | 11 | 0 -0.7 |
22 | 25.4 | 21 | |
| M16 | 2.0 | 13 | 24 | 27.7 | 23 | ||
| M18 | 2.5 | 15 | 27 | 31.2 | 26 | ||
| M20 | 2.5 | 16 | 30 | 34.6 | 29 | ||
| M22 | 2.5 | 18 | 32 | 37 | 31 | ||
| M24 | 3.0 | 19 | 0 -0.84 |
36 | 0 -1.0 |
41.6 | 34 |
| M27 | 3.0 | 22 | 41 | 47.3 | 39 | ||
| M30 | 3.5 | 24 | 46 | 53.1 | 44 | ||
| M33 | 3.5 | 26 | 50 | 57.7 | 48 | ||
| M36 | 4.0 | 29 | 55 | 0 -1.2 |
63.5 | 53 | |
| M42 | 4.5 | 34 | 0 -1.0 |
65 | 75 | 62 | |
※ECサイトでも取り扱いが御座います。サイズ表をクリックして下さい。
-
六角ナット(1種鉄M27上は黒皮
-
六角ナット(1種(ウィット
-
六角ナット(1種(細目
-
六角ナット(1種(その他細目
-
六角ナット(1種(極細
-
六角ナット(1種M30P=3.0
-
六角ナット(1種(左ねじ
-
六角ナット(1種(左ねじ(細目
-
六角ナット(1種(オーバータップ
-
六角ナット(1種(切削
2種
| ねじの呼び(d) | ピッチ | m | s | e | dk/dw | ||
|---|---|---|---|---|---|---|---|
| 並目 | 基準寸法 | 許容差 | 基準寸法 | 許容差 | 約 | 約 | |
| M2 | 0.4 | 1.6 | 0 -0.25 |
4 | 0 -0.2 |
4.6 | 2.8 |
| M2.3 | 0.4 | 1.8 | 4.5 | 5.2 | 4.3 | ||
| M2.5 | 0.45 | 2 | 5 | 5.8 | 4.7 | ||
| M2.6 | 0.45 | 2 | 5 | 5.8 | 4.7 | ||
| M3 | 0.5 | 2.4 | 5.5 | 6.4 | 5.3 | ||
| M3.5 | 0.6 | 2.8 | 6 | 6.9 | 5.8 | ||
| M4 | 0.7 | 3.2 | 0 -0.3 |
7 | 8.1 | 6.8 | |
| M5 | 0.8 | 4 | 8 | 9.2 | 7.8 | ||
| M6 | 1.0 | 5 | 10 | 11.5 | 9.8 | ||
| M8 | 1.25 | 6.5 | 0 -0.36 |
13 | 0 -0.25 |
15 | 12.5 |
| M10 | 1.5 | 8 | 17 | 19.6 | 16.5 | ||
| M12 | 1.75 | 10 | 19 | 0 -0.35 |
21.9 | 18 | |
| M16 | 2.0 | 13 | 0 -0.43 |
24 | 27.7 | 23 | |
※ECサイトでも取り扱いが御座います。サイズ表をクリックして下さい。
-
六角ナット(2種
-
六角ナット(2種(ウィット
-
六角ナット(2種(細目
-
六角ナット(2種(その他細目
-
六角ナット(2種(左ねじ
-
六角ナット(2種(切削
-
10割六角ナット(2種
-
六角ナット(2種(ECO−BS
-
六角ナット(2種(左ねじ(切削
3種
| ねじの呼び(d) | ピッチ | m | s | e | dk/dw | ||
|---|---|---|---|---|---|---|---|
| 基準寸法 | 許容差 | 基準寸法 | 許容差 | 約 | 約 | ||
| M2 | 0.4 | 1.2 | 0 -0.25 |
4 | 0 -0.2 |
4.6 | 3.8 |
| M2.5 | 0.45 | 1.6 | 5 | 5.8 | 4.7 | ||
| M3 | 0.5 | 1.8 | 5.5 | 6.4 | 5.3 | ||
| M4 | 0.7 | 2.4 | 7 | 8.1 | 6.8 | ||
| M5 | 0.8 | 3.2 | 0 -0.3 |
8 | 9.2 | 7.8 | |
| M6 | 1.0 | 3.6 | 10 | 11.5 | 9.8 | ||
| M8 | 1.25 | 5 | 13 | 0 -0.25 |
15 | 12.5 | |
| M10 | 1.5 | 6 | 17 | 19.6 | 16.5 | ||
| M12 | 1.75 | 7 | 0 -0.36 |
19 | 0 -0.35 |
21.9 | 18 |
| M16 | 2.0 | 10 | 24 | 27.7 | 23 | ||
| M20 | 2.5 | 12 | 0 -0.43 |
30 | 34.6 | 29 | |
| M22 | 2.5 | 13 | 32 | 0 -0.4 |
37 | 31 | |
| M24 | 3.0 | 14 | 36 | 41.6 | 34 | ||
| M30 | 3.5 | 18 | 46 | 53.1 | 44 | ||
※ECサイトでも取り扱いが御座います。サイズ表をクリックして下さい。
-
六角ナット(3種
-
六角ナット(3種(ウィット
-
六角ナット(3種(細目
-
六角ナット(3種(その他細目
-
六角ナット(3種(極細
-
六角ナット(3種(左ねじ
-
六角ナット(3種(切削
-
六角ナット(3種(切削(左ねじ
-
六角ナット(3種(ECO−BS
小形六角ナット(1種
| ねじの呼び(d) | ピッチ (P) |
m | s | ||
|---|---|---|---|---|---|
| M8 | 1.25 | 6.5 | 0 -0.3 |
12 | 0 -0.25 |
| M12 | 1.75 | 10 | 0 -0.35 |
17 | 0 -0.35 |
※ECサイトでも取り扱いが御座います。サイズ表をクリックして下さい。
小形六角ナット(2種
| ねじの呼び(d) | ピッチ (P) |
m | s | ||
|---|---|---|---|---|---|
| M8 | 1.25 | 6.5 | 0 -0.3 |
12 | 0 -0.25 |
| M10 | 1.5 | 8 | 0 -0.3 |
14 | 0 -0.25 |
| M12 | 1.75 | 10 | 0 -0.35 |
17 | 0 -0.35 |
※ECサイトでも取り扱いが御座います。サイズ表をクリックして下さい。
小形六角ナット(3種
| ねじの呼び(d) | ピッチ (P) |
m | s | ||
|---|---|---|---|---|---|
| M8 | 1.25 | 5 | 0 -0.3 |
12 | 0 -0.25 |
| M10 | 1.5 | 6 | 0 -0.3 |
14 | 0 -0.25 |
| M12 | 1.75 | 7 | 0 -0.35 |
17 | 0 -0.35 |
※ECサイトでも取り扱いが御座います。サイズ表をクリックして下さい。
袋ナット(3形 2種
| ねじの呼び(d) | m2 | m3 | A1 | T2 | R | r | S | ||
|---|---|---|---|---|---|---|---|---|---|
| M3 | 4.8 | ±0.25 | 2.4 | 0 -0.3 |
4.6 | 0.4 | 2.3 | 0.5 | 5.5 |
| M4 | 6.2 | 3.2 | 5.6 | 0.4 | 3 | 7 | |||
| M5 | 7.5 | 4 | 6.6 | 0.4 | 3.5 | 8 | |||
| M6 | 9.5 | 5 | 8.5 | 0.5 | 4.5 | 10 | |||
| M8 | 12.5 | ±0.3 | 6.5 | 0 -0.36 |
11.5 | 0.5 | 6.0 | 13 | |
| M10 | 15.5 | 8 | 14.5 | 0.8 | 7.5 | 17 | |||
| M12 | 18.5 | 10 | 16.5 | 0.8 | 8.5 | 1.0 | 19 | ||
| M14 | 21 | 11 | 0 -0.43 |
19.5 | 1.0 | 10 | 22 | ||
| M16 | 24 | ±0.4 | 13 | 21.5 | 1.0 | 11 | 24 | ||
| M18 | 31 | 15 | 23.5 | 1.2 | 12 | 27 | |||
| M20 | 29 | 16 | 26.5 | 1.2 | 13 | 30 | |||
| M22 | 32.5 | 18 | 28.5 | 1.2 | 14.5 | 32 | |||
| M24 | 35.5 | 19 | 0 -0.52 |
32.5 | 1.2 | 16.5 | 36 | ||
| M27 | 41 | ±0.5 | 22 | 37.5 | 1.6 | 19 | 1.5 | 41 | |
| M30 | 45 | 24 | 41.5 | 1.6 | 21 | 46 | |||
| M33 | 49 | ±1.0 | 26 | 45.5 | 1.6 | 23 | 50 | ||
| M36 | 54.5 | 29 | 50.5 | 1.6 | 25.5 | 55 | |||
| M42 | 63.5 | 34 | 0 -1.0 |
59.0 | 2.3 | 29.5 | 65 | ||
| M48 | 67.5 | 38 | 59.0 | 2.3 | 29.5 | 75 | |||
※ECサイトでも取り扱いが御座います。サイズ表をクリックして下さい。
フランジ付き六角ナット セレート付き
| ねじの呼び (d) |
平径 (s) |
対角 (e) |
フランジ径 (dc) |
全高 (m) |
六角部高さ (m1) |
フランジ厚 (c) |
θ゜ | |||
|---|---|---|---|---|---|---|---|---|---|---|
| 基準寸法 | 許容差 | (参考) | 基準寸法 | 許容差 | 基準寸法 | 許容差 | 最小 | 最小 | ||
| M3 | 5.5 | +0 -0.2 |
6.3 | 8 | +0 -0.4 |
3.7 | ±0.15 | 2.4 | 1.0 | 15゜ |
| M4 | 7 | 8.0 | 10 | 4.5 | 3.2 | 1.1 | ||||
| M5 | 8 | 9.2 | 12 | 5.5 | 3.3 | 1.1 | 30゜ | |||
| M6 | 10 | 11.5 | 13 | 6.0 | 4 | 1.5 | ||||
| M8 | 12 | +0 -0.25 |
13.8 | 17 | 7.5 | ±0.2 | 5 | 1.5 | ||
| M10 | 14 | 16.2 | 19 | 9.0 | 6 | 1.8 | ||||
| M12 | 17 | 19.6 | 24 | 11 | 7 | 1.8 | ||||
| M16 | 24 | +0 -0.35 |
27.7 | 33 | +0 -1.0 |
15 | ±0.3 | 9 | 2.5 | |
※ECサイトでも取り扱いが御座います。サイズ表をクリックして下さい。
フランジ付き六角ナット セレートなし
| ねじの呼び (d) |
平径 (s) |
対角 (e) |
フランジ径 (dc) |
全高 (m) |
六角部高さ (m1) |
フランジ厚 (c) |
θ゜ | |||
|---|---|---|---|---|---|---|---|---|---|---|
| 基準寸法 | 許容差 | (参考) | 基準寸法 | 許容差 | 基準寸法 | 許容差 | 最小 | 最小 | ||
| M2.6 | 5 | +0 -0.2 |
5.7 | 8 | +0 -0.4 |
3.1 | ±0.15 | 2.0 | 1.0 | 15゜ |
| M3 | 5.5 | 6.3 | 8 | 3.7 | 2.4 | 1.0 | ||||
| M3.5 | 5.5 | 6.3 | 8 | 3.7 | 2.4 | 1.0 | ||||
| M4 | 7 | 8.0 | 10 | 4.5 | 3.2 | 1.1 | ||||
| M5 | 8 | 9.2 | 12 | 5.5 | 3.3 | 1.1 | 30゜ | |||
| M6 | 10 | 11.5 | 13 | 6.0 | 4 | 1.5 | ||||
| M8 | 12 | +0 -0.25 |
13.8 | 17 | 7.5 | ±0.2 | 5 | 1.5 | ||
| M10 | 14 | 16.2 | 19 | 9.0 | 6 | 1.8 | ||||
| M12 | 17 | 19.6 | 24 | 11 | 7 | 1.8 | ||||
※ECサイトでも取り扱いが御座います。サイズ表をクリックして下さい。
ナイロンナット
| ねじの呼び (d) |
ピッチ (p) |
平径 (s) |
高さ (m) |
|---|---|---|---|
| 並目 | |||
| M2.6 | 0.45 | 5 | 3 |
| M3 | 0.5 | 5.5 | 4.3 |
| M4 | 0.7 | 7 | 5.5 |
| M5 | 0.8 | 8 | 6.0 |
| M6 | 1.0 | 10 | 7.8 |
| M8 | 1.25 | 13 | 9.8 |
| M10 | 1.5 | 17 | 12.0 |
| M12 | 1.75 | 19 | 14.4 |
| M14 | 2.0 | 22 | 16 |
| M16 | 2.0 | 24 | 18 |
| M18 | 2.5 | 27 | 20 |
| M20 | 2.5 | 30 | 20 |
| M22 | 2.5 | 32 | 22 |
| M24 | 3.0 | 36 | 24 |
※ECサイトでも取り扱いが御座います。サイズ表をクリックして下さい。
四角ナット ステンレス
| ねじの呼び(d) | 二面幅(S) | 高さ | 厚さ(m) |
|---|---|---|---|
| M4 | 7 | 2.0 | 3.2 |
| 10 | 2.0 | 3.2 |
※ECサイトでも取り扱いが御座います。サイズ表をクリックして下さい。
四角ナット 鉄
| ねじの呼び(d) | ピッチ | S | m |
|---|---|---|---|
| M3 | 0.5 | 5.5 | 2.4 |
| M4 | 0.7 | 7.0 | 3.2 |
| M5 | 0.8 | 8.0 | 4.0 |
| M6 | 1.0 | 10.0 | 5.0 |
| M8 | 1.25 | 13.0 | 6.5 |
| M10 | 1.5 | 17 | 8 |
※ECサイトでも取り扱いが御座います。サイズ表をクリックして下さい。











