ばね座金

特徴
平座金の一部が切れ、ねじれた形をしています。このねじがばねのはたらきをし、緩み止めや、緩んだときの脱落防止の効果があります。スプリングワッシャーとも呼ばれています。
用途
ばね座金には、緩み止めと緩んだときの脱落防止のふたつの効果があります。
緩み止めは、小ねじの頭やナットと部材の両方に食い込むことで効果を発揮します。当然、ねじ頭や部材を傷つけますので、分解や組み立てを繰り返すように場所には向きません。
締めたねじが少し緩んでも、ばね座金の反発力によって押しつけられて摩擦力が増し、ねじやナットが外れにくくなるのが脱落防止効果です。
いずれの場合も、ばね座がを使えば絶対に大丈夫というわけではありません。ほかの手段と併用することで、より効果を上げることができるでしょう。
ばね座金の種類 -JIS B 1251-
| 座金の種類 | 記号 | 適用ねじ部品 | |
|---|---|---|---|
| ばね座金 | 2号、3号 | 一般用のポルト、小ねじ、ナット | |
| 皿ばね座金 | 1種 | 1L、1H | 一般用のポルト、小ねじ、ナット |
| 2種 | 2L、2H | 六角穴付きボルト | |
| 歯付き座金 | 内歯形 | A | 一般用のポルト、小ねじ、ナット |
| 外歯形 | B | 一般用のポルト、小ねじ、ナット | |
| 皿形 | C | 皿小ねじ | |
| 内外歯形 | AB | 一般用のボルト、小ねじ、ナット | |
| 波形ばね座金 | 3号 | 一般用のボルト、小ねじ、ナット | |
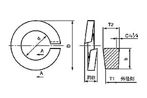
ばね座金の代表的なサイズ
<単位 mm>
| 呼び | M2 | M3 | M4 | M5 | M6 | M8 | M10 | |
|---|---|---|---|---|---|---|---|---|
| 内径 | 2.1 | 3.1 | 4.1 | 5.1 | 6.1 | 8.2 | 10.2 | |
| 外径 | 小形系列 | 4.4 | 5.9 | 7.6 | 9.2 | 12.2 | 15.4 | 18.4 |
| 高さ | 1 | 1.4 | 2 | 2.6 | 3 | 4 | 5 | |
ばね座金の規格表
2号
| 呼び径 | 内径(d) | 外径(D) | 幅(d)×厚さ(t)(最小) | ||
|---|---|---|---|---|---|
| メートルねじ用 | ウィットねじ用 | 基準寸法 | 許容差 | 2号 | |
| M2 | - | 2.1 | +0.25 0 |
4.4 | 0.9×0.5 |
| M2.3 | - | 2.4 | 4.9 | 1.0×0.6 | |
| M2.6 | - | 2.7 | +0.3 0 |
5.3 | 1.0×0.6 |
| M3 | - | 3.1 | 5.9 | 1.1×0.7 | |
| M3.5 | - | 3.6 | 6.6 | 1.2×0.8 | |
| M4 | - | 4.1 | +0.4 0 |
7.6 | 1.4×1.0 |
| M5 | - | 5.1 | 9.2 | 1.7×1.3 | |
| M6 | - | 6.1 | 12.2 | 2.7×1.5 | |
| M8 | (5/16) | 8.2 | +0.5 0 |
15.4 | 3.2×2.0 |
| M10 | - | 10.2 | 18.4 | 3.7×2.5 | |
| M12 | - | 12.2 | +0.6 0 |
21.5 | 4.2×3.0 |
| M14 | - | 14.2 | 24.5 | 4.7×3.5 | |
| M16 | (5/8) | 16.2 | +0.8 0 |
28 | 5.2×4.0 |
| M18 | - | 18.2 | 31 | 5.7×4.6 | |
| M20 | - | 20.2 | 33.8 | 6.1×5.1 | |
| M22 | (7/8) | 22.5 | +1.0 0 |
37.7 | 6.8×5.6 |
| M24 | - | 24.5 | 40.3 | 7.1×5.9 | |
| M27 | - | 27.5 | +1.2 0 |
45.3 | 7.9×6.8 |
| M30 | - | 30.5 | 49.9 | 8.7×7.5 | |
| M33 | - | 33.5 | +1.4 0 |
54.7 | 8.7×7.5 |
| M36 | - | 36.5 | 59.1 | 10.2×9.0 | |
| M39 | (1・1/2) | 39.5 | 63.1 | 10.7×9.5 | |
※ECサイトでも取り扱いが御座います。サイズ表をクリックして下さい。
-
スプリングワッシャー(2号
-
Sワッシャー(2号(逆巻き
-
SW(2号(キング(東京メタル
-
Sワッシャー(2号(平和発條
-
Sワッシャー(2号(特殊発條
-
Sワッシャー(2号(岸和田
-
SW(2号(キング(組込用
-
Sワッシャー(2号(SFK
-
Sワッシャー(2号(東都発条
-
Sワッシャー(2号(和光金属
-
スプリングワッシャ-(2号組込用
-
Sワッシャー(2号(ウィット特発
3号
| 呼び径 | 内径(d) | 外径(D) | 幅(d)×厚さ(t)(最小) | ||
|---|---|---|---|---|---|
| メートルねじ用 | ウィットねじ用 | 基準寸法 | 許容差 | 3号 | |
| 6 | - | 6.1 | +0.4 0 |
12.2 | 2.7×1.9 |
| 8 | (5/16) | 8.2 | +0.5 0 |
15.6 | 3.3×2.5 |
| 10 | - | 10.2 | 18.8 | 3.9×3.0 | |
| 12 | - | 12.2 | +0.6 0 |
21.9 | 4.4×3.6 |
| (14) | - | 14.2 | 24.7 | 4.8×4.2 | |
| 16 | (5/8) | 16.2 | +0.8 0 |
28.2 | 5.3×4.8 |
| (18) | - | 18.2 | 31.4 | 5.9×5.4 | |
| 20 | - | 20.2 | 34.4 | 6.4×6.0 | |
| (22) | (7/8) | 22.5 | +1.0 0 |
38.3 | 7.1×6.8 |
| 24 | - | 24.5 | 41.3 | 7.6×7.2 | |
| (27) | - | 27.5 | +1.2 0 |
46.7 | 8.6×8.2 |
| 30 | - | 30.5 | |||
※ECサイトでも取り扱いが御座います。サイズ表をクリックして下さい。





